boyu·博鱼最新买球网
您当前的位置:boyu·博鱼最新买球网 > boyu·博鱼最新买球网 > boyu·博鱼最新买球网在永磁体的结构型式中了解齿轮减速机
在永磁体的结构型式中了解齿轮减速机,永磁体结构型式电机主要有交流永磁同步电机、直流永磁电机、永磁步进电机、无刷直流电机、永磁直线(音圈)电机等.它们的水磁体结构各不相同.主要有以下几种,直流永磁电机的永磁体直流电机水磁体通常在定子上作主磁极。
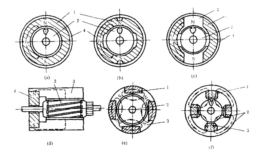
图中结构是采用铝镍钻系列永磁材料的永磁体的几种结构型式。由于铝镍钻系列材料H,值较小,然而永磁体长细比都较大,除了圆简形之外,其他几种结构型式中,软铁极靴结构较为复杂.由于H,值较低,为了防止过多的去磁,有时需要在加工或装配过程中采取保磁措施,如加保磁环等。直流永磁电机中采用铁氧体材料的永磁体结构详细请看图片,由图可知、用铁氧体材料制成的永磁体多是薄片形或圆筒形,沿磁化方向的长度I,.较短,这是因为它的Nc较大的缘故。
这类永磁体结构都比较简单,适于用粉末冶金压制成型,大批量生产。因为H,较大.抗去磁能力强,一般不需要采取保磁措施。(a), (b〕为稀土永磁体两种典型结构。(a )为切向式,(b)为径向式。
在切向式结构中,永磁体是并联作用的,两个永磁体截面提供每极气隙磁通,容易得到较高的气隙磁密值.沿水磁体充磁方向上,只有一个水滋体的长度提供每对极的磁势。适于采用矫顽力较高的永磁材料。在这种结构中,永磁体充磁方向和气隙磁通的方向相差近900.漏磁较大,而且机壳需采用非磁性材料,或者在永磁体和机壳之间增加非磁性材料,这使结构变得复杂。相比以上电机,城邦的齿轮减速机和永磁体结构的电机在结构和型式要求上标准又不一样了,所以对于不同结构的齿轮减速机也好,永磁步进电机也好,都必须了解和认清其性能呢特点。
上一篇 铁硼水磁材料在齿轮减速机中的应用 下一篇 减速电机永磁体和磁滞体




粤ICP备11012611号
